Στείλτε μας email

sdepochwater@hotmail.com

Νέα

​Τα χαρακτηριστικά και η ταξινόμηση των βαλβίδων πύλης


Μια βαλβίδα πύλης, επίσης γνωστή ως βαλβίδα πλάκας πύλης, είναι μια βαλβίδα της οποίας το τμήμα ανοίγματος και κλεισίματος είναι μια πλάκα πύλης και η οποία κινείται από ένα στέλεχος βαλβίδας για να μετακινήσει την πλάκα πύλης πάνω και κάτω.


Τα χαρακτηριστικά των βαλβίδων πύλης


1) Πλεονεκτήματα των βαλβίδων πύλης: Χαμηλή αντίσταση ροής ρευστού. Η ροπή που απαιτείται για το άνοιγμα και το κλείσιμο είναι μικρή. Η κατεύθυνση ροής του μέσου είναι απεριόριστη. Δεν υπάρχει φαινόμενο water hammer κατά το άνοιγμα και το κλείσιμο. Η δομή του σχήματος είναι σχετικά απλή και η διαδικασία κατασκευής είναι καλύτερη.


2) Μειονεκτήματα των βαλβίδων πύλης: Έχουν σχετικά μεγάλες εξωτερικές διαστάσεις και ύψη εγκατάστασης και απαιτούν σημαντικό χώρο εγκατάστασης. Κατά τη διαδικασία ανοίγματος και κλεισίματος, υπάρχει σχετική τριβή στην επιφάνεια στεγανοποίησης, με αποτέλεσμα σημαντική φθορά. Ακόμη και σε υψηλές θερμοκρασίες, είναι επιρρεπές σε γρατσουνιές. Οι βαλβίδες πύλης έχουν συνήθως δύο επιφάνειες στεγανοποίησης, γεγονός που προσθέτει ορισμένες δυσκολίες στην επεξεργασία, τη λείανση και τη συντήρηση.


Οι βαλβίδες πύλης έχουν ένα ευρύ φάσμα εφαρμογών. Συνήθως χρησιμοποιείται για αγωγούς ύδρευσης με ονομαστική διάμετρο DN50 ή μεγαλύτερη.



Ταξινόμηση βαλβίδων πύλης


Οι βαλβίδες πύλης μπορούν να ταξινομηθούν με μεθόδους σύνδεσης σε βαλβίδες πύλης με σπείρωμα, βαλβίδες πύλης με φλάντζα και συγκολλημένες βαλβίδες πύλης. Σύμφωνα με τα δομικά χαρακτηριστικά, μπορούν να χωριστούν σε παράλληλες πλάκες πύλης και πλάκες πύλης σφήνας. Με βάση τη δομή του στελέχους βαλβίδας, μπορούν να ταξινομηθούν σε διακριτές βαλβίδες πύλης στελέχους (ανυψωτικό στέλεχος) και βαλβίδες πύλης κρυφού στελέχους (περιστρεφόμενο στέλεχος).




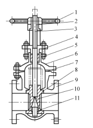
1) Ανοιχτή βαλβίδα παράλληλης διπλής πύλης ανοιχτού στελέχους: Η παράλληλη διπλή βαλβίδα ανοιχτού στελέχους φαίνεται στο σχήμα 1. Η πύλη της αποτελείται από δύο συμμετρικούς και παράλληλους δίσκους. Όταν η πύλη κατεβαίνει, η επάνω σφήνα που βρίσκεται στο κάτω μέρος της πύλης αναγκάζει τις δύο πύλες να διαστέλλονται προς τα έξω και να πιέζονται σφιχτά πάνω στην έδρα της βαλβίδας, κλείνοντας έτσι τη βαλβίδα ερμητικά. Όταν η πύλη ανεβαίνει, η σφήνα αποδεσμεύεται από το δίσκο. Μόλις ο δίσκος ανέβει σε ένα ορισμένο ύψος, η σφήνα σηκώνεται από τις προεξοχές του δίσκου και ανεβαίνει μαζί με την πύλη. Αυτή η βαλβίδα έχει απλή δομή. Η επεξεργασία, η λείανση και η συντήρηση της επιφάνειας σφράγισής της είναι απλούστερες από αυτές της βαλβίδας σφηνωτής πύλης. Ωστόσο, η απόδοση σφράγισής του είναι σχετικά κακή. Είναι κατάλληλο για μέσα με πίεση που δεν υπερβαίνει το 1,0 MPa και θερμοκρασία που δεν υπερβαίνει τους 200℃.



Σχήμα 1: Ανερχόμενη βαλβίδα παράλληλης διπλής πύλης ανερχόμενου στελέχους


1. Χειροτροχός 2- παξιμάδι στελέχους βαλβίδας 3- στέλεχος βαλβίδας 4 - στυπιοθλίπτης στεγανοποίησης 5 - συσκευασία 6 - κάλυμμα βαλβίδας

7 - Φλάντζα 8 - Δακτύλιος στεγανοποίησης 9- Σώμα βαλβίδας 10- Πύλη 11 - Πάνω σφήνα


2) Βαλβίδα πύλης σφήνας κρυφού στελέχους: Όπως φαίνεται στο σχήμα 2, η επιφάνεια στεγανοποίησης αυτής της βαλβίδας είναι κεκλιμένη και σχηματίζει μια γωνία. Όσο υψηλότερη είναι η μέση θερμοκρασία, τόσο μεγαλύτερη είναι η γωνία. Οι πλάκες πύλης σφήνας ταξινομούνται σε πλάκες μονής πύλης, διπλές πλάκες πύλης και ελαστικές πλάκες πύλης, όπως φαίνεται στα Σχήματα 2a, b και c αντίστοιχα. Η επεξεργασία, η λείανση και η συντήρηση των πλακών πύλης σφήνας είναι πιο περίπλοκες από αυτές των παράλληλων πλακών πύλης, αλλά έχουν καλύτερη απόδοση στεγανοποίησης.


Σχήμα 2 Κρυφή βαλβίδα πύλης σφήνας στελέχους


α) Σφηνοειδή πλάκα μονής πύλης β) Σφηνοειδή διπλή πλάκα πύλης γ) Σφηνοειδή ελαστική πλάκα πύλης


1. Χειροτροχός 2. Ένδειξη 3. Κάλυμμα 4. Κουτί γέμισης 5. Συσκευασία 6. Κάλυμμα βαλβίδας

7- Στέλεχος βαλβίδας 8 - Παξιμάδι στελέχους βαλβίδας 9, 12 - Δακτύλιος στεγανοποίησης 10 - Σώμα βαλβίδας 11 - Πλάκα πύλης 13 - Φλάντζα


Η ελαστική βαλβίδα πύλης φαίνεται στο σχήμα 3. Έχει τα πλεονεκτήματα της απλής δομής και της αξιόπιστης χρήσης και μπορεί να προκαλέσει μια μικρή ελαστική παραμόρφωση, η οποία αυξάνει τη στεγανότητα του κλεισίματος.



Σχήμα 3 Ελαστική βαλβίδα πύλης


1. Χειροτροχός 2 - παξιμάδι στελέχους βαλβίδας 3 - στυπιοθλίπτης στεγανοποίησης 4 - παρέμβυσμα 5 - κάλυμμα βαλβίδας 6 - φλάντζα

7- Σώμα βαλβίδας 8 Πλάκα πύλης 9 - Δακτύλιος στεγανοποίησης 10 - Στέλεχος βαλβίδας 11 - Μπουλόνι σύνδεσης


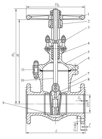
Σε μια βαλβίδα πύλης ανερχόμενου στελέχους, το σπείρωμα του στελέχους της βαλβίδας ταιριάζει με ένα περικόχλιο με χιτώνιο εξοπλισμένο με χειροτροχό. Το κάτω άκρο του στελέχους της βαλβίδας έχει μια τετράγωνη κεφαλή, η οποία είναι ενσωματωμένη στην πλάκα πύλης. Όταν περιστρέφεται ο χειροτροχός, το στέλεχος της βαλβίδας και η πλάκα πύλης κινούνται πάνω και κάτω. Κατά το άνοιγμα, το στέλεχος της βαλβίδας εκτείνεται έξω από τον χειροτροχό. Το πλεονέκτημα είναι ότι ο βαθμός ανοίγματος της βαλβίδας μπορεί να κριθεί από το εκτεταμένο μήκος του στελέχους βαλβίδας και το στέλεχος της βαλβίδας δεν έρχεται σε άμεση επαφή με το μεταφερόμενο μέσο. Το μειονέκτημα είναι ότι η βαλβίδα έχει μεγάλο ύψος ανοίγματος και το σημείο εγκατάστασης πρέπει να έχει αρκετό χώρο ώστε το στέλεχος της βαλβίδας να εκτείνεται προς τα έξω. Κατά την εγκατάσταση επί τόπου, φροντίστε να δώσετε προσοχή σε αυτό το σημείο. Το εξωτερικό σπείρωμα του στελέχους βαλβίδας της κρυφής βαλβίδας πύλης στελέχους ταιριάζει με το εσωτερικό σπείρωμα που είναι ενσωματωμένο στη βαλβίδα. Επομένως, όταν περιστρέφεται ο χειροτροχός, το στέλεχος της βαλβίδας περιστρέφεται, με αποτέλεσμα η πύλη μέσα στη βαλβίδα να κινείται προς τα πάνω και προς τα κάτω, αλλά το στέλεχος της βαλβίδας δεν μπορεί να κινηθεί πάνω και κάτω. Η κρυφή βαλβίδα πύλης στελέχους καταλαμβάνει λιγότερο χώρο κατά την εγκατάσταση. Το μεταφερόμενο μέσο έρχεται σε άμεση επαφή με το στέλεχος της βαλβίδας και ο βαθμός ανοίγματος της βαλβίδας δεν μπορεί να κριθεί μέσω του στελέχους βαλβίδας. Είτε πρόκειται για βαλβίδα πύλης ανερχόμενου στελέχους είτε για βαλβίδα πύλης στελέχους που δεν ανεβαίνει, η βαλβίδα πύλης πρέπει να εγκατασταθεί οριζόντια. Το στέλεχος της βαλβίδας πρέπει να είναι κατακόρυφα προς τα πάνω και όχι κεκλιμένο. Απαγορεύεται αυστηρά η τοποθέτηση του στελέχους βαλβίδας προς τα κάτω.



Σχετικά Νέα
Αφήστε μου ένα μήνυμα
X
Χρησιμοποιούμε cookies για να σας προσφέρουμε καλύτερη εμπειρία περιήγησης, να αναλύσουμε την επισκεψιμότητα του ιστότοπου και να εξατομικεύσουμε το περιεχόμενο. Χρησιμοποιώντας αυτόν τον ιστότοπο, συμφωνείτε με τη χρήση των cookies από εμάς. Πολιτική Απορρήτου
Απορρίπτω Αποδέχομαι